
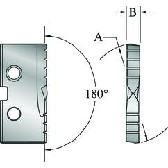
47/64 1 T-A FB DRILL INSERT
Item #: BA52151T734FB
Manufacturer: Allied Machine and Eng.
Mfg #: 151T-.734-
Technical Specifications:
•Brand Name: Allied Machine and Eng. •Cutting Diameter (Inch/Metric): 47/64 •Series: 1
Description:
Shipping Info:
•Actual Weight - .0200
2% Off All Online Orders
Use Code: 2%OFF
Best Price Guarantee - Email Us A Better Published Price and We'll Beat It